当前位置:首 页 > 公益服务 > 知识产权服务
专利服务 商标服务 著作权服务 集成电路布图设计服务
一种抑制蛋白酪氨酸磷酸酶-1B的所属分类:A部--人类生活需要 2023-11-21
一种复杂样品中残留拟除虫菊酯类农所属分类:G部--物理 2023-11-21
一种拟除虫菊酯类农药分子印迹膜的所属分类:C部--化学;冶金 2023-11-21
一种水稻根系伸长控制基因 OsK所属分类:C部--化学;冶金 2023-11-21
水稻侧根发生控制基因OsHK1所属分类:C部--化学;冶金 2023-11-21
一种采用参数寻优支持向量机基于所属分类:G部--物理 2023-11-21
一种检测铅离子的固态电化学发光所属分类:G部--物理 2023-11-21
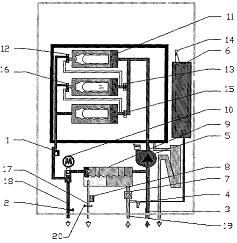
一种电热式供暖洗浴两用壁挂炉所属分类:F部--机械工程;照明;加热;武器;爆破 2023-11-21
一种MIL-100(Fe)封装磷所属分类:B部-作业;运输 2023-11-21
一种智能节电监测装置所属分类:G部--物理 2023-11-08
一种取料、补给及射击系统所属分类:A部--人类生活需要 2023-11-08
一种旋转底座所属分类:F部--机械工程;照明;加热;武器;爆破 2023-11-08